MadCityServers是一家成立于 2021 年 11 月 的美国 VPS 和云主机服务提供商,公司位于美国伊利诺伊州芝加哥市,并且有自己的网络(AS400298),MadCityServers成立时间虽然比较短,但相对的服务器的设备都较新,主打高性能 AMD Ryzen 9950x系列 CPU VPS,覆盖美国多个主要地区,37vps主机评测 目前包括 洛杉矶(Los Angeles)、纽约(New York)、芝加哥(Chicago),并计划在迈阿密(Miami)建设自己的网络。另外MadCityServers提供高达 10Gbps 下行 / 1Gbps 上行带宽与无流量限制(unmetered bandwidth),部分地区甚至提供10Gbps 下行 / 10Gbps 上行带宽的速度。另外MadCityServers还提供 5 天退款保证,如果用户对服务不满意可以申请退款。
官网:https://www.madcityservers.com
支付方式:微信、支付宝、PayPal、信用卡/借记卡、Stripe、加密货币
先来看看我拿到的机器的基础信息,我拿到的是LAX AMD Standard套餐,$3.5/月(1核,1G内存,100GB NVMe SSD,无限流量)

系统的选择上比较丰富,基本平时需要的系统类型都涵盖到,从Ubuntu到Debian和Centos,再到Windows系统(Windows2019、Windows2022、还有最新的Windows2025)不支持自定义上传安装ISO系统,另外这是我见过最详细清爽的系统重装选择界面,之前的都是选定一个OS然后下拉选版本类型,这个可以很直观的看到全部版本类型。

多个套餐类型可供选择,具体套餐类型参考:MadCityServers系列服务器类型
硬盘性能测试

IP查询可以看到这个IP为机房原生IP,IP风险一般般

IP风险检查结果如下

三网回程线路测试


三网+教育网 IPv4 单线程测速

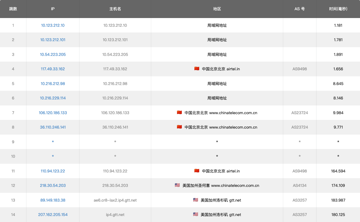
ping延迟测试

YouTube速度测试,用的是移动100M宽带,并且在WiFi的情况下测试,测试时间是下午1点左右

下载速度测试,用的是移动100M宽带,并且在WiFi的情况下测试,测试时间是中午12点52分左右

去程测试
电信:

广东BGP:

北京BGP:

流媒体解锁大致结果如下
============[ Multination ]============
Dazn: IP Banned by Dazn
Disney+: No (IP Banned By Disney+ 1)
Netflix: Yes (Region: US)
YouTube Premium: No
Amazon Prime Video: Yes (Region: US)
TVBAnywhere+: Yes
Spotify Registration: No
OneTrust Region: US [California]
iQyi Oversea Region: SG
Bing Region: US (Risky)
Apple Region: US
YouTube CDN: Los Angeles, CA
Netflix Preferred CDN: Los Angeles, CA
ChatGPT: Yes
Google Gemini: Yes (Region: TKM)
Claude: Yes
Wikipedia Editability: Yes
Google Play Store: Turkmenistan
Google Search CAPTCHA Free: Yes
Steam Currency: USD
—Forum—
Reddit: No
—Game—
SD Gundam G Generation Eternal: No
=======================================
==============[ Taiwan ]===============
KKTV: No
LiTV: No
MyVideo: No
4GTV.TV: No
LineTV.TW: No
Hami Video: No
CatchPlay+: No
HBO Max: Yes (Region: US)
Bahamut Anime: No
SonyLiv: Failed (Network Connection)
Bilibili Taiwan Only: No
=======================================
=============[ Hong Kong ]=============
Now E: Failed (Error: )
Viu.com: No
Viu.TV: No
MyTVSuper: No
HBO Max: Yes (Region: US)
SonyLiv: Failed (Network Connection)
BiliBili Hongkong/Macau/Taiwan: No
Bahamut Anime: No
=======================================
===============[ Japan ]===============
DMM: Yes
DMM TV: No
Abema.TV: No
Niconico: Failed (Error: PAGE ERROR)
Telasa: No
U-NEXT: No
Hulu Japan: No
TVer: Failed (Error: PAGE ERROR)
Lemino: No
AnimeFesta: No
WOWOW: Failed (Error: PAGE ERROR 1)
VideoMarket: Yes
D Anime Store: No
FOD(Fuji TV): No
Radiko: No
Karaoke@DAM: No
J:com On Demand: No
WATCHA: No
Rakuten TV JP: No
—Game—
Kancolle Japan: Failed (Network Connection)
Pretty Derby Japan: Yes
Konosuba Fantastic Days: Failed (Network Connection)
Princess Connect Re:Dive Japan: Yes
Project Sekai: Colorful Stage: No
—Music—
Mora: No
music.jp: No
—Forum—
EroGameSpace: Yes
=======================================
===========[ North America ]===========
Paramount+: Yes (Region: US)
Discovery+: Yes (Region: US)
Acorn TV: Yes
BritBox: Yes
SonyLiv: Failed (Network Connection)
NBA TV: Yes
TLC GO: Yes (Region: US)
Shudder: Yes
Fubo TV: Yes (Region:US)
Tubi TV: Yes
Pluto TV: Yes
KOCOWA: Yes
AMC+: Yes (Region: USA)
MathsSpot Roblox: Failed (Error: PAGE ERROR 1)
—US—
FOX: Yes
Hulu: No
NFL+: Yes
ESPN+:[Sponsored by Jam] No
MGM+: No
Starz: Failed (Error: PAGE ERROR)
Philo: Yes
FXNOW: Yes
HBO Max: Yes (Region: US)
Crackle: Failed (Network Connection)
CW TV: Yes
A&E TV: Yes
NBC TV: Yes
Sling TV: Yes
encoreTVB: Yes
Peacock TV: Yes
Popcornflix: Failed (Network Connection)
Crunchyroll: Yes
Directv Stream: Failed (Network Connection)
Meta AI: No
—CA—
HotStar: No (Discontinued in the US)
CBC Gem: No
Crave: No
=======================================
===========[ South America ]===========
HBO Max: Yes (Region: US)
DirecTV Go: Yes (Region: CO)
Paramount+: Yes (Region: US)
=======================================
===============[ Europe ]==============
Paramount+: Yes (Region: US)
Discovery+: Yes (Region: US)
SonyLiv: Failed (Network Connection)
HBO Max: Yes (Region: US)
SkyShowTime: No
BritBox: Yes
Rakuten TV: No
Megogo TV: Yes
Setanta Sports: No
MathsSpot Roblox: Failed (Error: PAGE ERROR 1)
—GB—
HotStar: No (Discontinued in the US)
Sky Go: Yes
ITV Hub: Failed (Error: PAGE ERROR)
Channel 4: No
Channel 5: Yes
BBC iPLAYER: No
Acorn TV: Yes
Shudder: Yes
—FR—
Canal+: Failed (Error: 404)
Molotov: No
—DE—
Joyn: No
SKY DE: No
ZDF: No
—NL—
NLZIET: Failed (Error: PAGE ERROR)
videoland: No
NPO Start Plus: Failed (Error: 401)
—ES—
Movistar+: No
—IT—
Rai Play: No
—CH—
SKY CH: No
—RU—
Amediateka: No
=======================================
==============[ Oceania ]==============
NBA TV: Yes
Acorn TV: Yes
BritBox: Yes
Paramount+: Yes (Region: US)
AMC+: Yes (Region: USA)
SonyLiv: Failed (Network Connection)
—AU—
Binge: Yes
Docplay: Yes
7plus: No
ABC iView: No
Channel 9: No
Channel 10: No
Optus Sports: Yes
SBS on Demand: No
Kayo Sports: Yes
—NZ—
Neon TV: No
SkyGo NZ: No
ThreeNow: No
Maori TV: Failed (Error: PAGE ERROR)
=======================================
==============[ Korean ]===============
Wavve: Yes
Tving: No
WATCHA: No
Coupang Play: No
Naver TV: No
SPOTV NOW: Yes
Afreeca TV: Yes
KBS Domestic: No
=======================================
** 正在测试 IPv6 解锁情况
——————————–
** 您的网络为: Madcityservers-llc (2602:fed2:7184:*:*)
============[ Multination ]============
Dazn: IPv6 Is Not Currently Supported
Disney+: IPv6 Is Not Currently Supported
Netflix: Yes (Region: CA)
YouTube Premium: Yes (Region: CA)
Amazon Prime Video: IPv6 Is Not Currently Supported
TVBAnywhere+: IPv6 Is Not Currently Supported
Spotify Registration: No
OneTrust Region: US [Illinois]
iQyi Oversea Region: IPv6 Is Not Currently Supported
Bing Region: CA (Risky)
Apple Region: CA
YouTube CDN: Los Angeles, CA
Netflix Preferred CDN: Los Angeles, CA
ChatGPT: Failed (Network Connection)
Google Gemini: Yes (Region: CAN)
Claude: Yes
Wikipedia Editability: Yes
Google Play Store: Canada
Google Search CAPTCHA Free: Yes
Steam Currency: IPv6 Is Not Currently Supported
—Forum—
Reddit: IPv6 Is Not Currently Supported
—Game—
SD Gundam G Generation Eternal: Failed (Network Connection)
=======================================
==============[ Taiwan ]===============
KKTV: IPv6 Is Not Currently Supported
LiTV: IPv6 Is Not Currently Supported
MyVideo: IPv6 Is Not Currently Supported
4GTV.TV: IPv6 Is Not Currently Supported
LineTV.TW: IPv6 Is Not Currently Supported
Hami Video: IPv6 Is Not Currently Supported
CatchPlay+: IPv6 Is Not Currently Supported
HBO Max: No
Bahamut Anime: IPv6 Is Not Currently Supported
SonyLiv: Failed (Network Connection)
Bilibili Taiwan Only: IPv6 Is Not Currently Supported
=======================================
=============[ Hong Kong ]=============
Now E: IPv6 Is Not Currently Supported
Viu.com: IPv6 Is Not Currently Supported
Viu.TV: IPv6 Is Not Currently Supported
MyTVSuper: IPv6 Is Not Currently Supported
HBO Max: No
SonyLiv: Failed (Network Connection)
BiliBili Hongkong/Macau/Taiwan: IPv6 Is Not Currently Supported
Bahamut Anime: IPv6 Is Not Currently Supported
=======================================
===============[ Japan ]===============
DMM: IPv6 Is Not Currently Supported
DMM TV: IPv6 Is Not Currently Supported
Abema.TV: IPv6 Is Not Currently Supported
Niconico: IPv6 Is Not Currently Supported
Telasa: No
U-NEXT: No
Hulu Japan: IPv6 Is Not Currently Supported
TVer: IPv6 Is Not Currently Supported
Lemino: No
AnimeFesta: Failed (Network Connection)
WOWOW: IPv6 Is Not Currently Supported
VideoMarket: IPv6 Is Not Currently Supported
D Anime Store: IPv6 Is Not Currently Supported
FOD(Fuji TV): IPv6 Is Not Currently Supported
Radiko: IPv6 Is Not Currently Supported
Karaoke@DAM: IPv6 Is Not Currently Supported
J:com On Demand: No
WATCHA: IPv6 Is Not Currently Supported
Rakuten TV JP: IPv6 Is Not Currently Supported
—Game—
Kancolle Japan: IPv6 Is Not Currently Supported
Pretty Derby Japan: Yes
Konosuba Fantastic Days: IPv6 Is Not Currently Supported
Princess Connect Re:Dive Japan: IPv6 Is Not Currently Supported
Project Sekai: Colorful Stage: IPv6 Is Not Currently Supported
—Music—
Mora: IPv6 Is Not Currently Supported
music.jp: IPv6 Is Not Currently Supported
—Forum—
EroGameSpace: IPv6 Is Not Currently Supported
=======================================
===========[ North America ]===========
Paramount+: Yes (Region: CA)
Discovery+: IPv6 Is Not Currently Supported
Acorn TV: IPv6 Is Not Currently Supported
BritBox: Yes
SonyLiv: Failed (Network Connection)
NBA TV: Yes
TLC GO: IPv6 Is Not Currently Supported
Shudder: Yes
Fubo TV: IPv6 Is Not Currently Supported
Tubi TV: Yes
Pluto TV: IPv6 Is Not Currently Supported
KOCOWA: IPv6 Is Not Currently Supported
AMC+: Yes (Region: Canada)
MathsSpot Roblox: IPv6 Is Not Currently Supported
—US—
FOX: Yes
Hulu: No
NFL+: IPv6 Is Not Currently Supported
ESPN+:[Sponsored by Jam] No
MGM+: IPv6 Is Not Currently Supported
Starz: IPv6 Is Not Currently Supported
Philo: IPv6 Is Not Currently Supported
FXNOW: IPv6 Is Not Currently Supported
HBO Max: No
Crackle: Failed (Network Connection)
CW TV: Yes
A&E TV: IPv6 Is Not Currently Supported
NBC TV: No
Sling TV: Failed (Network Connection)
encoreTVB: IPv6 Is Not Currently Supported
Peacock TV: No
Popcornflix: IPv6 Is Not Currently Supported
Crunchyroll: IPv6 Is Not Currently Supported
Directv Stream: Failed (Network Connection)
Meta AI: Yes (Region: US)
—CA—
HotStar: Failed (Error: REGION ERROR CA_)
CBC Gem: IPv6 Is Not Currently Supported
Crave: IPv6 Is Not Currently Supported
=======================================
===========[ South America ]===========
HBO Max: No
DirecTV Go: IPv6 Is Not Currently Supported
Paramount+: Yes (Region: CA)
=======================================
===============[ Europe ]==============
Paramount+: Yes (Region: CA)
Discovery+: IPv6 Is Not Currently Supported
SonyLiv: Failed (Network Connection)
HBO Max: No
SkyShowTime: No
BritBox: Yes
Rakuten TV: IPv6 Is Not Currently Supported
Megogo TV: IPv6 Is Not Currently Supported
Setanta Sports: IPv6 Is Not Currently Supported
MathsSpot Roblox: IPv6 Is Not Currently Supported
—GB—
HotStar: Failed (Error: REGION ERROR CA_)
Sky Go: IPv6 Is Not Currently Supported
ITV Hub: IPv6 Is Not Currently Supported
Channel 4: IPv6 Is Not Currently Supported
Channel 5: IPv6 Is Not Currently Supported
BBC iPLAYER: IPv6 Is Not Currently Supported
Acorn TV: IPv6 Is Not Currently Supported
Shudder: Yes
—FR—
Canal+: IPv6 Is Not Currently Supported
Molotov: No
—DE—
Joyn: IPv6 Is Not Currently Supported
SKY DE: IPv6 Is Not Currently Supported
ZDF: IPv6 Is Not Currently Supported
—NL—
NLZIET: IPv6 Is Not Currently Supported
videoland: No
NPO Start Plus: Failed (Network Connection)
—ES—
Movistar+: IPv6 Is Not Currently Supported
—IT—
Rai Play: IPv6 Is Not Currently Supported
—CH—
SKY CH: Failed (Error: 301)
—RU—
Amediateka: IPv6 Is Not Currently Supported
=======================================
==============[ Oceania ]==============
NBA TV: Yes
Acorn TV: IPv6 Is Not Currently Supported
BritBox: Yes
Paramount+: Yes (Region: CA)
AMC+: Yes (Region: Canada)
SonyLiv: Failed (Network Connection)
—AU—
Binge: No
Docplay: IPv6 Is Not Currently Supported
7plus: IPv6 Is Not Currently Supported
ABC iView: IPv6 Is Not Currently Supported
Channel 9: No
Channel 10: IPv6 Is Not Currently Supported
Optus Sports: Yes
SBS on Demand: IPv6 Is Not Currently Supported
Kayo Sports: No
—NZ—
Neon TV: IPv6 Is Not Currently Supported
SkyGo NZ: IPv6 Is Not Currently Supported
ThreeNow: IPv6 Is Not Currently Supported
Maori TV: IPv6 Is Not Currently Supported
=======================================
==============[ Korean ]===============
Wavve: IPv6 Is Not Currently Supported
Tving: IPv6 Is Not Currently Supported
WATCHA: IPv6 Is Not Currently Supported
Coupang Play: IPv6 Is Not Currently Supported
Naver TV: IPv6 Is Not Currently Supported
SPOTV NOW: IPv6 Is Not Currently Supported
Afreeca TV: IPv6 Is Not Currently Supported
KBS Domestic: IPv6 Is Not Currently Supported
=======================================
全国五网ISP路由回程测试
[NextTrace API] preferred API IP – [2606:4700:20::681a:d97] – 74.85ms – Misaka.LAX
『北京 移动 CMNET AS9808 』
traceroute to ipv4.pek-9808.endpoint.nxtrace.org, 30 hops max, 52 byte packets, ICMP mode
1 172.99.249.1 AS400298 美国 伊利诺伊州 西芝加哥 madcityservers.com
1.18 ms / 0.65 ms / 0.71 ms
2 207.45.216.172 AS6453 [CCBB-LVW] 美国 加利福尼亚州 洛杉矶 tatacommunications.com
0.87 ms / 0.91 ms / 0.90 ms
3 64.86.252.242 AS6453 美国 加利福尼亚 洛杉矶 tatacommunications.com
if-bundle-33-2.qcore2.lvw-losangeles.as6453.net 0.53 ms / * ms / * ms
[MPLS: Lbl 0, TC 0, S 1, TTL 1]
4 207.45.219.131 AS6453 美国 加利福尼亚 洛杉矶 tatacommunications.com
9.26 ms / 9.09 ms / 8.92 ms
5 223.120.6.17 AS58453 [CMI-INT] 美国 加利福尼亚 洛杉矶 cmi.chinamobile.com 移动
8.51 ms / 8.55 ms / 8.31 ms
6 223.120.13.50 AS58453 [CMI-INT] 美国 加利福尼亚 旧金山 cmi.chinamobile.com 移动
178.42 ms / 176.44 ms / 169.67 ms
7 221.183.55.114 AS9808 [CMNET] 中国 北京 X-I chinamobileltd.com 移动
162.29 ms / 162.49 ms / * ms
8 221.183.25.201 AS9808 [CMNET] 中国 北京 I-C chinamobileltd.com 移动
168.50 ms / * ms / * ms
9 *
10 *
11 *
12 *
13 211.136.63.66 AS56048 [CMNET] 中国 北京 bj.10086.cn 移动
193.19 ms / 193.32 ms / 193.22 ms
14 211.136.95.226 AS56048 [CMNET] 中国 北京 bj.10086.cn 移动
193.83 ms / 193.87 ms / 192.98 ms
15 *
16 *
17 211.136.25.153 AS56048 [CMNET] 中国 北京 bj.10086.cn 移动
193.41 ms / 194.01 ms / 193.22 ms
『北京 移动 CMIN2 AS58807 』
traceroute to ipv4.pek-58807.endpoint.nxtrace.org, 30 hops max, 52 byte packets, ICMP mode
1 172.99.249.1 AS400298 美国 伊利诺伊州 西芝加哥 madcityservers.com
0.41 ms / 0.38 ms / 0.43 ms
2 206.72.211.72 AS58807 [CORESITE-ANY2] 美国 加利福尼亚州 硅谷 Any2West – China Mobile International – NII – 10Gbps cmi.chinamobile.com
206.72.211.72.any2ix.coresite.com 0.79 ms / 1.52 ms / 0.78 ms
3 223.120.197.1 AS58807 [CMIN2-NET] 美国 加利福尼亚 洛杉矶 cmi.chinamobile.com 移动
159.95 ms / 157.45 ms / 152.97 ms
[MPLS: Lbl 91656, TC 3, S 1, TTL 1]
4 223.120.161.5 AS58807 [CMIN2-NET] 中国 上海 洛杉矶-上海 cmi.chinamobile.com 移动
152.73 ms / 152.74 ms / 152.73 ms
5 221.183.92.117 AS9808 [CMNET] 中国 上海 X-I chinamobileltd.com 移动
154.35 ms / 154.73 ms / 154.30 ms
6 221.183.87.217 AS9808 [CMNET] 中国 上海 I-C chinamobileltd.com 移动
156.76 ms / 156.79 ms / 156.85 ms
7 221.183.179.21 AS9808 [CMNET] 中国 上海 chinamobileltd.com
159.31 ms / 159.34 ms / 159.42 ms
8 221.183.119.73 AS9808 [CMNET] 中国 北京 chinamobileltd.com 移动
172.48 ms / 172.66 ms / 172.40 ms
9 *
10 223.72.105.65 AS56048 [CMNET] 中国 北京 海淀区 bj.10086.cn 移动
152.17 ms / 152.16 ms / 152.23 ms
『上海 移动 CMNET AS9808 』
traceroute to ipv4.sha-9808.endpoint.nxtrace.org, 30 hops max, 52 byte packets, ICMP mode
1 172.99.249.1 AS400298 美国 伊利诺伊州 西芝加哥 madcityservers.com
2.40 ms / 0.43 ms / 3.44 ms
2 63.222.115.132 AS3491 美国 pccwglobal.com
0.71 ms / 0.71 ms / * ms
3 63.223.43.126 AS3491 [PCCW-BACKBONE] 美国 加利福尼亚 洛杉矶 pccwglobal.com
Bundle-Ether42.br05.lax05.as3491.net 0.69 ms / 0.94 ms / * ms
4 63.220.196.63 AS3491 美国 加利福尼亚 洛杉矶 pccwglobal.com
63-220-196-63.static.as3491.net 9.23 ms / 9.44 ms / 9.49 ms
5 223.120.6.17 AS58453 [CMI-INT] 美国 加利福尼亚 洛杉矶 cmi.chinamobile.com 移动
8.62 ms / 8.74 ms / 8.64 ms
6 223.120.13.46 AS58453 [CMI-INT] 中国 上海 cmi.chinamobile.com 移动
234.37 ms / 233.52 ms / 229.53 ms
7 221.183.89.174 AS9808 [CMNET] 中国 上海 X-I chinamobileltd.com 移动
217.52 ms / 201.06 ms / * ms
8 221.183.89.69 AS9808 [CMNET] 中国 上海 I-C chinamobileltd.com 移动
208.27 ms / 207.85 ms / 207.78 ms
9 *
10 *
11 120.204.34.85 AS24400 [APNIC-AP] 中国 上海 sh.10086.cn 移动
186.82 ms / 186.83 ms / 186.58 ms
『上海 移动 CMIN2 AS58807 』
traceroute to ipv4.sha-58807.endpoint.nxtrace.org, 30 hops max, 52 byte packets, ICMP mode
1 172.99.249.1 AS400298 美国 伊利诺伊州 西芝加哥 madcityservers.com
0.43 ms / 0.55 ms / 0.74 ms
2 206.72.211.72 AS58807 [CORESITE-ANY2] 美国 加利福尼亚州 硅谷 Any2West – China Mobile International – NII – 10Gbps cmi.chinamobile.com
206.72.211.72.any2ix.coresite.com 0.65 ms / 0.86 ms / 0.70 ms
3 223.120.197.1 AS58807 [CMIN2-NET] 美国 加利福尼亚 洛杉矶 cmi.chinamobile.com 移动
153.34 ms / 153.56 ms / 153.04 ms
[MPLS: Lbl 91656, TC 3, S 1, TTL 1]
4 223.120.161.5 AS58807 [CMIN2-NET] 中国 上海 洛杉矶-上海 cmi.chinamobile.com 移动
152.66 ms / 152.69 ms / 152.71 ms
5 221.183.92.121 AS9808 [CMNET] 中国 上海 X-I chinamobileltd.com 移动
154.71 ms / 155.20 ms / 154.97 ms
6 221.183.87.245 AS9808 [CMNET] 中国 上海 I-C chinamobileltd.com 移动
154.29 ms / 154.35 ms / 154.30 ms
7 221.183.179.25 AS9808 [CMNET] 中国 上海 chinamobileltd.com
156.00 ms / 155.90 ms / 155.91 ms
8 183.194.134.9 AS24400 [APNIC-AP] 中国 上海 sh.10086.cn 移动
136.92 ms / 136.95 ms / 136.98 ms
『广州 移动 CMNET AS9808 』
traceroute to ipv4.can-9808.endpoint.nxtrace.org, 30 hops max, 52 byte packets, ICMP mode
1 172.99.249.1 AS400298 美国 伊利诺伊州 西芝加哥 madcityservers.com
10.47 ms / 0.64 ms / 17.78 ms
2 207.45.216.172 AS6453 [CCBB-LVW] 美国 加利福尼亚州 洛杉矶 tatacommunications.com
0.88 ms / 0.76 ms / 0.76 ms
3 *
4 207.45.219.131 AS6453 美国 加利福尼亚 洛杉矶 tatacommunications.com
9.12 ms / 8.98 ms / 8.97 ms
5 223.120.6.17 AS58453 [CMI-INT] 美国 加利福尼亚 洛杉矶 cmi.chinamobile.com 移动
8.51 ms / 8.50 ms / 8.25 ms
6 223.120.12.10 AS58453 [CMI-INT] 中国 广东 广州 cmi.chinamobile.com 移动
183.29 ms / 183.57 ms / 183.31 ms
7 221.183.55.82 AS9808 [CMNET] 中国 广东 广州 X-I chinamobileltd.com 移动
157.83 ms / 158.09 ms / 164.36 ms
8 221.183.92.21 AS9808 [CMNET] 中国 广东 广州 I-C chinamobileltd.com 移动
240.64 ms / 237.35 ms / 234.96 ms
9 *
10 *
11 *
12 *
13 183.240.64.85 AS9808 [APNIC-AP] 中国 广东 汕头市 chinamobileltd.com 移动
215.46 ms / 203.26 ms / 200.65 ms
14 183.240.65.191 AS9808 [APNIC-AP] 中国 广东省 汕头市 chinamobileltd.com 移动
202.94 ms / 201.88 ms / 204.01 ms
『广州 移动 CMIN2 AS58807 』
traceroute to ipv4.can-58807.endpoint.nxtrace.org, 30 hops max, 52 byte packets, ICMP mode
1 172.99.249.1 AS400298 美国 伊利诺伊州 西芝加哥 madcityservers.com
0.65 ms / 0.49 ms / 0.51 ms
2 206.72.211.72 AS58807 [CORESITE-ANY2] 美国 加利福尼亚州 硅谷 Any2West – China Mobile International – NII – 10Gbps cmi.chinamobile.com
206.72.211.72.any2ix.coresite.com 0.68 ms / 0.62 ms / 0.81 ms
3 223.120.197.1 AS58807 [CMIN2-NET] 美国 加利福尼亚 洛杉矶 cmi.chinamobile.com 移动
156.30 ms / 153.00 ms / 153.14 ms
[MPLS: Lbl 91656, TC 3, S 1, TTL 1]
4 223.120.161.5 AS58807 [CMIN2-NET] 中国 上海 洛杉矶-上海 cmi.chinamobile.com 移动
153.13 ms / 152.75 ms / 152.65 ms
5 221.183.92.117 AS9808 [CMNET] 中国 上海 X-I chinamobileltd.com 移动
154.85 ms / 154.28 ms / 154.42 ms
6 221.183.87.217 AS9808 [CMNET] 中国 上海 I-C chinamobileltd.com 移动
156.74 ms / 156.74 ms / 156.73 ms
7 221.183.179.17 AS9808 [CMNET] 中国 上海 chinamobileltd.com
156.74 ms / 156.75 ms / 156.67 ms
8 221.183.108.238 AS9808 [CMNET] 中国 广东 广州 chinamobileltd.com 移动
159.31 ms / 158.86 ms / 158.97 ms
9 *
10 211.136.207.2 AS56040 [CMNET] 中国 广东 广州 gd.10086.cn 移动
169.61 ms / 169.48 ms / 169.56 ms
11 120.236.114.1 AS56040 [APNIC-AP] 中国 广东 广州 花都区 gd.10086.cn 移动
161.55 ms / 161.52 ms / 161.44 ms
『杭州 移动 CMNET AS9808 』
traceroute to ipv4.hgh-9808.endpoint.nxtrace.org, 30 hops max, 52 byte packets, ICMP mode
1 172.99.249.1 AS400298 美国 伊利诺伊州 西芝加哥 madcityservers.com
0.64 ms / 0.43 ms / 0.57 ms
2 207.45.216.172 AS6453 [CCBB-LVW] 美国 加利福尼亚州 洛杉矶 tatacommunications.com
0.77 ms / 0.82 ms / 0.92 ms
3 *
4 207.45.219.7 AS6453 美国 加利福尼亚 圣克拉拉 tatacommunications.com
if-ae-35-2.tcore1.sv1-santaclara.as6453.net 12.88 ms / 12.53 ms / 13.41 ms
[MPLS: Lbl 219799, TC 0, S 1, TTL 1]
5 63.243.251.2 AS6453 美国 加利福尼亚 圣克拉拉 tatacommunications.com
if-ae-0-2.tcore2.sv1-santaclara.as6453.net 14.00 ms / 12.29 ms / 12.32 ms
[MPLS: Lbl 430717, TC 0, S 1, TTL 1]
6 66.198.101.133 AS6453 美国 加利福尼亚 圣何塞 tatacommunications.com
if-bundle-20-2.qcore1.sqn-sanjose.as6453.net 10.63 ms / * ms / * ms
[MPLS: Lbl 611, TC 0, S 1, TTL 1]
7 66.198.101.129 AS6453 美国 加利福尼亚 圣何塞 tatacommunications.com
if-bundle-2-2.qcore2.sqn-sanjose.as6453.net 12.98 ms / * ms / * ms
[MPLS: Lbl 0, TC 0, S 1, TTL 1]
8 223.121.6.57 AS58453 [CMI-INT] 美国 加利福尼亚 圣何塞 cmi.chinamobile.com
10.62 ms / 10.78 ms / 10.31 ms
9 223.120.6.69 AS58453 [CMI-INT] 美国 加利福尼亚 圣何塞 cmi.chinamobile.com 移动
10.42 ms / 10.60 ms / 10.75 ms
10 223.120.12.146 AS58453 [CMI-INT] 中国 上海 cmi.chinamobile.com 移动
211.99 ms / * ms / * ms
11 221.183.89.174 AS9808 [CMNET] 中国 上海 X-I chinamobileltd.com 移动
188.93 ms / 189.40 ms / 189.76 ms
12 221.183.89.69 AS9808 [CMNET] 中国 上海 I-C chinamobileltd.com 移动
214.05 ms / 213.84 ms / 214.08 ms
13 *
14 *
15 218.205.50.217 AS56041 [CMNET] 中国 浙江 杭州 zj.10086.cn 移动
240.46 ms / 220.99 ms / * ms
16 112.17.224.98 AS56041 [APNIC-AP] 中国 浙江 杭州 zj.10086.cn 移动
217.93 ms / 217.72 ms / 218.01 ms
———————————————————————————————————————————————————
三网回程路由(线路可能随网络负载动态变化)
北京 电信 TATA -> 163
地理路径:美国 -> 北京 自治系统路径:AS400298 -> AS6453 -> AS4134 -> AS4847
1 3.44ms 172.99.*.* AS400298 美国 伊利诺伊州 西芝加哥 madcityservers.com
2 0.78ms 207.45.*.* AS6453 [CCBB-LVW] 美国 加利福尼亚州 洛杉矶 tatacommunications.com
3-4 0.93ms 64.86.*.* AS6453 美国 加利福尼亚 洛杉矶 tatacommunications.com
6-7 173.08ms 202.97.*.* AS4134 [CHINANET-BB] 中国 北京 chinatelecom.com.cn 电信
10 176.73ms 36.112.*.* AS4847 中国 北京 bj.189.cn
11 180.77ms 219.141.*.* AS4847 [CHINATELECOM-BJ] 中国 北京 bj.189.cn
13 176.55ms 106.37.*.* AS4847 [CHINANET-HN] 中国 北京 bj.189.cn
北京 联通 TATA -> 4837
地理路径:美国 -> 北京 自治系统路径:AS400298 -> AS6453 -> AS4837 -> AS4808
1 0.59ms 172.99.*.* AS400298 美国 伊利诺伊州 西芝加哥 madcityservers.com
2 0.95ms 207.45.*.* AS6453 [CCBB-LVW] 美国 加利福尼亚州 洛杉矶 tatacommunications.com
4-5 1.12ms 207.45.*.* AS6453 美国 加利福尼亚 洛杉矶 tatacommunications.com
6-8 178.09ms 219.158.*.* AS4837 [CU169-BACKBONE] 中国 北京市 chinaunicom.cn 联通
9-10 180.80ms 125.33.*.* AS4808 [UNICOM-BJ] 中国 北京 www.bbn.com.cn 联通
14 187.61ms 221.222.*.* AS4808 [UNICOM-BJ] 中国 北京 海淀 www.bbn.com.cn
北京 移动 TATA -> CMI
地理路径:美国 -> 北京 自治系统路径:AS400298 -> AS6453 -> AS58453 -> AS9808 -> AS56048
1 0.47ms 172.99.*.* AS400298 美国 伊利诺伊州 西芝加哥 madcityservers.com
2 1.19ms 207.45.*.* AS6453 [CCBB-LVW] 美国 加利福尼亚州 洛杉矶 tatacommunications.com
3-4 1.25ms 64.86.*.* AS6453 美国 加利福尼亚 洛杉矶 tatacommunications.com
5-6 8.13ms 223.120.*.* AS58453 [CMI-INT] 美国 加利福尼亚 洛杉矶 cmi.chinamobile.com 移动
7-10 162.10ms 221.183.*.* AS9808 [CMNET] 中国 北京 X-I chinamobileltd.com 移动
12-13 171.14ms 211.136.*.* AS56048 [CMNET] 中国 北京 bj.10086.cn 移动
16 183.68ms 211.136.*.* AS56048 [CMNET] 中国 北京 bj.10086.cn 移动
上海 电信 TATA -> 163
地理路径:美国 -> 上海 自治系统路径:AS400298 -> AS6453 -> AS4134 -> AS4812
1 0.44ms 172.99.*.* AS400298 美国 伊利诺伊州 西芝加哥 madcityservers.com
2 1.22ms 207.45.*.* AS6453 [CCBB-LVW] 美国 加利福尼亚州 洛杉矶 tatacommunications.com
3 10.11ms 64.86.*.* AS6453 [LVWTC1-TATAC] 美国 加利福尼亚 英格尔伍德 tatacommunications.com
4-6 11.41ms 207.45.*.* AS6453 美国 加利福尼亚 圣克拉拉 tatacommunications.com
7 10.84ms 218.30.*.* AS4134 [CHINANET-US] 美国 加利福尼亚 洛杉矶 chinatelecom.com.cn
12 173.37ms 101.95.*.* AS4812 [CHINANET-SH] 中国 上海 chinatelecom.cn 电信
18 173.93ms 101.226.*.* AS4812 [CHINANET-SH] 中国 上海市 chinatelecom.cn 电信
上海 联通 TATA -> NoData
地理路径:美国 -> 上海 自治系统路径:AS400298 -> AS6453 -> AS140979
1 0.69ms 172.99.*.* AS400298 美国 伊利诺伊州 西芝加哥 madcityservers.com
2 0.72ms 207.45.*.* AS6453 [CCBB-LVW] 美国 加利福尼亚州 洛杉矶 tatacommunications.com
4-5 0.90ms 207.45.*.* AS6453 美国 加利福尼亚 洛杉矶 tatacommunications.com
16 171.82ms 58.246.*.* AS140979 中国 上海市 chinaunicom.cn 联通
上海 移动 PCCW -> CMI
地理路径:美国 -> 上海 自治系统路径:AS400298 -> AS3491 -> AS58453 -> AS9808
1 0.55ms 172.99.*.* AS400298 美国 伊利诺伊州 西芝加哥 madcityservers.com
3 0.66ms 63.223.*.* AS3491 [PCCW-BACKBONE] 美国 加利福尼亚 洛杉矶 pccwglobal.com
4 9.08ms 63.220.*.* AS3491 美国 加利福尼亚 洛杉矶 pccwglobal.com
5 8.50ms 223.120.*.* AS58453 [CMI-INT] 美国 加利福尼亚 洛杉矶 cmi.chinamobile.com 移动
6 209.65ms 223.120.*.* AS58453 [CMI-INT] 中国 上海 cmi.chinamobile.com
7-9 166.85ms 221.183.*.* AS9808 [CMNET] 中国 上海 X-I chinamobileltd.com 移动
15 190.16ms 117.185.*.* AS9808 [CMNET] 中国 上海市 chinamobileltd.com 移动
广东 电信 TATA -> 163
地理路径:美国 -> 广东 自治系统路径:AS400298 -> AS6453 -> AS4134
1 0.70ms 172.99.*.* AS400298 美国 伊利诺伊州 西芝加哥 madcityservers.com
2 0.75ms 207.45.*.* AS6453 [CCBB-LVW] 美国 加利福尼亚州 洛杉矶 tatacommunications.com
3 10.76ms 64.86.*.* AS6453 [LVWTC1-TATAC] 美国 加利福尼亚 英格尔伍德 tatacommunications.com
4-5 10.28ms 207.45.*.* AS6453 美国 加利福尼亚 圣克拉拉 tatacommunications.com
7 12.57ms 218.30.*.* AS4134 [CHINANET-US] 美国 加利福尼亚 洛杉矶 chinatelecom.com.cn
8-9 161.68ms 202.97.*.* AS4134 [CHINANET-BB] 中国 广东 广州 chinatelecom.com.cn 电信
11 165.12ms 113.96.*.* AS4134 [CHINANET-GD] 中国 广东 广州 chinatelecom.com.cn 电信
17 171.51ms 183.47.*.* AS4134 [APNIC-AP] 中国 广东省 广州市 chinatelecom.com.cn 电信
广东 联通 TATA -> 4837
地理路径:美国 -> 北京 -> 广东 自治系统路径:AS400298 -> AS6453 -> AS4837 -> AS17816 -> AS136958
1 3.52ms 172.99.*.* AS400298 美国 伊利诺伊州 西芝加哥 madcityservers.com
2 0.72ms 207.45.*.* AS6453 [CCBB-LVW] 美国 加利福尼亚州 洛杉矶 tatacommunications.com
3-5 1.02ms 64.86.*.* AS6453 美国 加利福尼亚 洛杉矶 tatacommunications.com
6-7 167.04ms 219.158.*.* AS4837 [CU169-BACKBONE] 中国 北京 chinaunicom.cn 联通
9 178.07ms 219.158.*.* AS4837 [CU169-BACKBONE] 中国 广东 广州 chinaunicom.cn 联通
10 170.77ms 120.86.*.* AS17816 [APNIC-AP] 中国 广东 广州 中国联通 联通
16 159.88ms 157.148.*.* AS136958 [UNICOM-GD] 中国 广东省 广州市 chinaunicom.cn 联通
广东 移动 TATA -> CMI
地理路径:美国 -> 广东 自治系统路径:AS400298 -> AS6453 -> AS58453 -> AS9808 -> AS56040
1 0.51ms 172.99.*.* AS400298 美国 伊利诺伊州 西芝加哥 madcityservers.com
2 0.97ms 207.45.*.* AS6453 [CCBB-LVW] 美国 加利福尼亚州 洛杉矶 tatacommunications.com
3-4 0.42ms 64.86.*.* AS6453 美国 加利福尼亚 洛杉矶 tatacommunications.com
5 8.71ms 223.120.*.* AS58453 [CMI-INT] 美国 加利福尼亚 洛杉矶 cmi.chinamobile.com 移动
6 182.57ms 223.120.*.* AS58453 [CMI-INT] 中国 广东 广州 cmi.chinamobile.com 移动
7-10 179.02ms 221.183.*.* AS9808 [CMNET] 中国 广东 广州 X-I chinamobileltd.com 移动
11 187.44ms 183.235.*.* AS56040 [APNIC-AP] 中国 广东 广州 gd.10086.cn 移动
12 196.02ms 211.136.*.* AS56040 [CMNET] 中国 广东 广州 gd.10086.cn 移动
18 205.95ms 211.139.*.* AS56040 [CMNET] 中国 广东 广州 gd.10086.cn 移动
================================================================================
报告链接:https://Report.Check.Place/net/RPV7BGMJ5.svg
硬件性能测试
以下为bench 性能测试

测试机器信息:LAX AMD Standard套餐,$3.5/月(1核,1G内存,100GB NVMe SSD,无限流量)
购买链接如下:MadCityServers系列服务器类型
总结:首先要说的是重装系统界面简洁直观,但可惜的是没有自定义上传ISO镜像功能,只能用看到的这几个版本,不过还好版本够多也基本能够覆盖,然后就是硬盘的I/O性能,几次测试下来都可以在1.5GB/s—2GB/s之间,也是不错的速度,CPU用的是AMD Ryzen 9 9950X,但我觉得相对的要买4核或者8核的CPU套餐才能发挥真正水平,目前我测试的这个套餐我更推荐变成中小型网站或者自用网盘这种用途更适合,毕竟大硬盘。在延迟方面,基本在180ms—200ms之间了,我个人觉得是有一点点高,不过实际测试下来,无论是下载速度还是影片播放流畅度都在可以接受的范围,不过因为是共享带宽,所以如果遇到上网高峰期速度上可能有一点程度的衰减。在娱乐方面,主流的流媒体例如Netflix、HBO这些是没问题的,但Disney+和Spotify这些则不支持了。就我拿到的这个套餐而言,我更偏向于打造成一个自用网盘或者小型网站加播放简单流媒体视频这种形式存在。
Madcityservers:100GB NVMe SSD大硬盘不限流量10Gbps带宽的VPS低至$3.5/月|支持支付宝、微信付款
QQ交流群:1043787517(群内不定时发放服务器相关福利)

